SRAM holt zum großen Schlag aus: Ein neu aufgetauchtes Patent zeigt, dass der Schaltungs-Gigant an einer eigenen Motor-Getriebe-Einheit (MGU) arbeitet. Damit könnte SRAM nicht nur Pinion direkt angreifen, sondern auch ordentlich Druck auf die etablierte Konkurrenz ausüben.
Schaltexperte SRAM plant Motor-Getriebe-Einheit
Wohl kaum jemand würde ein Auto entwickeln, bei dem die Schaltung schutzlos der Witterung ausgesetzt ist. Warum also beim E-Bike an der Kettenschaltung festhalten?
Neben Nabenschaltungen machen seit wenigen Jahren auch Getriebeschaltungen für E-Bikes Schlagzeilen. Das wohl bekannteste System ist die Pinion MGU. Doch diese Motor-Getriebe-Einheit könnte durch eine neue Entwicklung bald ihr Alleinstellungsmerkmal verlieren.
Kein geringerer Hersteller als SRAM – neben Shimano wohl der bekannteste Hersteller für Schaltungen und weitere Bike-Komponenten – arbeitet an der Entwicklung einer eigenen Motor-Getriebe-Einheit. Das zeigt eine Patentanmeldung, welche am 25.12.2025 unter der Nummer 20250388290 beim US-amerikanischen Patentamt veröffentlicht wurde.

12-Gänge mit Automatikschaltung in SRAM-Motoreinheit
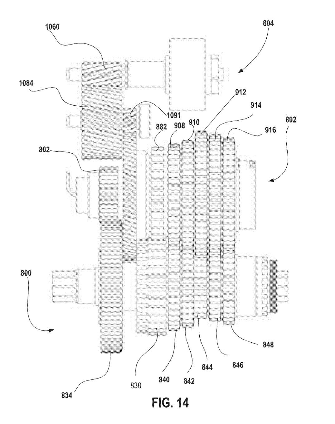
Das angemeldete Patent beschreibt einen Motor inklusive 12-Gang-Schaltung, wie es auch bei der Top-Version der Pinion MGU der Fall ist. Die beschriebene Version von SRAM soll ebenfalls für automatische Schaltvorgänge konzipiert sein.
Die Spannweite der Übersetzung ist mit knapp über 500 % deutlich geringer als die der Pinion MGU mit 600 %. Das maximale Drehmoment des Motors ist derzeit noch unbekannt.

Wird SRAM bald auch Motorenhersteller?
Dass SRAM als Schaltungsspezialist ein Getriebe entwirft, ist bereits eine interessante Neuigkeit. Doch vor allem, dass es gleich in einem Motor integriert sein soll, könnte für Wirbel sorgen. Zwar hatte SRAM mit dem „Eagle Powertrain“ bereits ein System am Markt, dieses basierte jedoch auf Hardware von Brose. Das neue Patent deutet nun erstmals auf eine komplette Eigenentwicklung hin.
Ein solcher Schritt hin zur kompletten Unabhängigkeit würde eine generelle Entwicklung unterstreichen: Die bisherigen Platzhirsche Bosch, Shimano, Yamaha, Bafang, Fazua und Mahle müssen sich den Markt in Zukunft mit immer mehr ernst zu nehmenden Herstellern teilen.
Automatikschaltungen könnten zum neuen Standard werden
Selbst unbekanntere Marken treten mittlerweile mit Motor-Getriebe-Einheiten inklusive Automatikschaltung auf, auch wenn diese häufig mit wenigen Gängen und als Heckantrieb konzipiert sind, wie zum Beispiel der neue Heckantrieb Ananda R900.
Auch günstigere E-Bikes wie das von uns getestete Ado Air 30 Ultra oder das Yuccie Junico Flow bringen mittlerweile den Komfort kleinerer Automatikschaltungen. Entsprechend sehen wir die Automatik-Einheiten auch als einen der großen E-Bike-Trends für 2026.

SRAM-MGU noch nicht öffentlich vorgestellt
Ob das Patent von SRAM jemals zur Anwendung kommt, ist nicht sicher. Einige Hersteller wie SEG Automatic oder Valeo haben bereits mit eigenen Motor-Getriebe-Einheiten Schlagzeilen gemacht, die bisher jedoch wenig etabliert sind.
Gelingt es SRAM, ein kompetitives System herzustellen, welches in Leistung, Genauigkeit und Komfort mit Pinion mithalten kann, könnte dies auch andere Hersteller auf den Plan rufen. Bisher haben Bosch und Co. sich von den MGU-Systemen zumindest nach außen hin noch nicht sehr beeindruckt gezeigt, sie setzen eher auf einen Antrieb, der mit konventionellen Ketten- und Nabenschaltungen kombiniert werden kann.















Hallo, in dem Artikel sind leider viele Fehler. Die Patentanmeldung US20250388290 ist kein Patent, sondern erst eine Anmeldung. Sie wurde auch nicht am 25.12.2025 registriert, sondern am 20.06.2024 (Priordatum). Das Datum 25.12.2025 ist das Veröffentlichungsdatum. In der Patentfamilie gibt es derzeit vier Anmeldungen, die bei den jeweiligen Patentämtern eingereicht sind und jetzt geprüft werden. Erst nach der positiven Prüfung kann überhaupt ein Patent erteilt werden.
Hier der Link zur Akte.
https://worldwide.espacenet.com/publicationDetails/biblio?DB=EPODOC&II=0&ND=3&adjacent=true&locale=de_EP&FT=D&date=20251225&CC=US&NR=2025388290A1&KC=A1
Viele Grüße
Andreas